Принцип действия электронной системы зажигания
Последнее поколение генераторов Минска значительно увеличивает мощность источника электроэнергии. Это обеспечивает бесперебойность функционирования всех элементов системы. Во всех скоростных режимах потребители электроэнергии имеют надежное обеспечение.
Новые генераторы отличаются не только по своей функциональности, но и по строению. На разных моделях мотоцикла установлены различные типы генераторов. Но, внешне они похожи, что позволяет крепить их, не соблюдая соответствия модели.
Единственное, что следует помнить, при смене генератора на другой тип, необходимо провести регулирование всех остальных элементов.
Электронное зажигание имеет бесконтактную форму. Конструкционные особенности Минска не предусматривают наличие аккумулятора. Система зажигания работает на базе ГПТ. В работе используется блок коммутатора — стабилизатора и индукционный датчик.
Стабилизатор напряжения используется для регулирования силы тока, которая подается на освещение и звуковые сигналы. Коммутатор и стабилизатор по своим функциям не связаны между собой.
Система зажигания Минска работает за счет связи таких элементов, как:
- свеча,
- трансформатор напряжения;
- индукционный датчик;
- сопротивления;
- лампочек-индикаторов;
- проводов.
[sc:ads3]
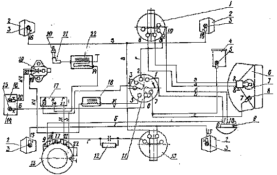
Правильно настроенная система зажигания – залог того, что мотоцикл будет заводиться даже зимой. Отсутствие аккумулятора в какой-то степени облегчает жизнь владельца мотоцикла. Не нужно думать о том, что периодически следует подзаряжать батарею. Схема проводки мотоцикла минск показывает взаимосвязь между отдельными элементами.
Регулировка зазора в прерывателе
Регулировка зазора между контактами — это простая процедура, с которой и следует начинать диагностику неполадок. Прежде всего подготовьте ключ на 10 — он не раз понадобится вам в настройке зажигания на Минске.
Для регулирования зазора нужно будет совершить следующие действия:
- максимально провернуть ротор, поставив его в такое положение, при котором зазор будет наибольшей ширины;
- затем необходимо ослабить крепёжный винт, который обеспечивает соединение контактной стойки с крышкой;
- получив доступ к эксцентрику, начинайте закручивать его, пока зазор не составит около 0,4 мм. Измерить это расстояние можно при помощи специального щупа — при верной регулировке он будет немного зажат контактами.
Далее идёт настройка момента зажигания. Выполнять её необходимо только после вышеперечисленных действий.
Настроить момент зажигания можно следующим образом:
- сначала нужно выставить поршень в верхнюю мёртвую точку и поворачивать его на 3 миллиметра в обратную сторону;
- затем обратите внимание на болты стартера — опустите их и начните поворачивать его так, чтобы между контактами образовалось размыкание. Определить этот момент можно при помощи обыкновенного листка бумаги — в момент разрыва он будет безо всяких проблем проходить между контактами
- определив разрыв, закручивайте болты и затяните их покрепче, после чего проверьте прерыватель и его зазор.
Если после этого проблема с зажиганием на мотоцикле Минск не исправилась, то нужно приступить к следующему, не самому простому шагу — установке абриса.

Уход за генератором
В процессе ухода за генератором необходимо периодически подтягивать резьбовые соединения. Периодически необходимо проверять зазор между ротором и индукционным датчиком. Это выполняется таким образом: создается максимальный зазор при повороте ротора, затем с помощью эксцентрика выставляется зазор в пределах 0,35-0,40 мм и затягивается винт на место.
По окончанию этих действий зазор замеряется заново. На работоспособность генератора очень сильно влияют условия хранения мотоцикла. Не стоит рассчитывать на то, что электрооборудование будет хорошо работать, если длительный промежуток времени находится в сыром помещении. Особенно это касается хранения в зимний период.
Генераторы Г-401, Г-411, Г-421
Для генераторов, имеющих «механическую» систему зажигания, важнейшими моментами являются регулировка зазора между контактами прерывателя, установка зажигания и регулировка абриса.
Регулировка зазора в прерывателе производится следующим образом:
— ротор поворачивают (ключом на 10) в такое положение, при котором зазор будет максимальным;
— ослабляют винт, крепящий контактную стойку к крышке; поворачивая отверткой эксцентрик, устанавливают зазор 0,35 — 0,40 мм, при этом щуп толщиной 0,35 мм должен проходить между контактами свободно, а щуп 0,45 мм — зажиматься ими. При отсутствии набора щупов можно подобрать несколько лезвий от безопасной бритвы. Имея определенный навык, зазор в прерывателе можно регулировать на работающем двигателе: медленно поворачивая эксцентрик, устанавливают такой зазор, при котором обороты двигателя будут наибольшими при данном положении ручки газа;
— винт контактной стойки туго затягивают и проверяют зазор. Установка зажигания производится следующим образом: устанавливают зазор в прерывателе 0,35 — 0,40 мм; поршень устанавливают в такое положение, чтобы он не доходил до верхней мертвой точки (ВМТ) на 3 — 3,5 мм. Для этого в свечное отверстие вставляют стержень и, установив поршень в ВМТ, делают на стержне риску. Затем стержень снимают и наносят на него еще две риски выше первой на 3 и 3,5 мм, по которым и устанавливают поршень, при этом он должен идти от нижней мертвой точки (НМТ) к ВМТ, а не наоборот.
Вместо стержня можно использовать штангенциркуль с глубиномером, однако в этом случае необходимо снять головку и, прижимая цилиндр к картеру, подвести поршень верхней кромкой к нижней границе кольцевой полоски нагара на зеркале, которая как раз и находится на расстоянии 3,5 мм до ВМТ;
— отпустив болты статора, поворачивают его так, чтобы в прерывателе началось размыкание контактов. Момент начала размыкания можно уловить при помощи тонкой бумажки, вставленной между контактами. Как только бумажка начинает выходить от небольшого усилия, это и есть начало размыкания;
— затягивают болты статора и проверяют зазор в прерывателе. Помните, что коленчатый вал вращается по часовой стрелке. Поэтому, поворачивая статор по часовой стрелке, устанавливают более позднее зажигание, а при повороте против нее — более раннее. Следует также знать, что при неизменном положении статора увеличение зазора в прерывателе приводит к увеличению опережения зажигания, а уменьшение зазора — к уменьшению опережения. При этом разница в опережении очень значительная — 0,1 мм зазора в прерывателе равнозначен изменению опережения приблизительно на 0.8 мм. Однако подменять установку опережения зажигания изменением зазора в прерывателе нельзя, так как ухудшаются условия работы прерывателя и нарушается регулировка абриса.
Регулировка абриса. При правильной регулировке абриса искра между электродами свечи будет наиболее сильной и устойчивой. При несовпадении указанных моментов искры не будет или будет, но очень слабая.
Абрис устанавливается на заводе-изготовителе и необходимое положение пластины фиксируется абрисными винтами 9 и 15, которые покрыты эмалью. Регулировка абриса — операция довольно тонкая и не всегда удается малоопытным водителям. Поэтому производить ее следует только при полной уверенности в том, что именно абрис является причиной неисправности (например, при замене ротора, при сильном износе контактов или кулачка прерывателя).
Перед регулировкой устанавливают правильный зазор в прерывателе и опережение зажигания, после чего определяют величину искры между проводом высокого напряжения и ребром головки цилиндра. Затем увеличивают и уменьшают зазор в прерывателе, также определяя величину искры. Если она заметно не улучшается или не ухудшается, то регулировку абриса не производят. Если же при изменении зазора в прерывателе величина искры заметно изменяется, то следует отрегулировать абрис, для чего:
— ослабляют абрисные винты;
— незначительно поворачивают абрисную пластину против часовой стрелки, если искра улучшается при увеличении зазора в прерывателе;
— поворачивают пластину по часовой стрелке, если искра улучшается при уменьшении зазора;
— затягивают абрисные винты, повторно устанавливают зазор и опережение зажигания и снова определяют величину искры при изменении зазора в прерывателе. При необходимости регулировку повторяют, и так до тех пор, пока искра не станет сильной и устойчивой, а изменение зазора в прерывателе не будет влиять на ее величину.
Рис. 3.8. Приспособление для выпрессовки правого подшипника коленчатого вала без разборки картера: 1 — болт; 2 — упорная шайба; 3 — пазы под ключ глушителя; 4 — штыри; 5 — рабочее положение головки . штыря; 6 — положение головки штыря при установке в подшипник; 7 — положение шариков подшипника.
Уход за генератором заключается в периодической подтяжке резьбовых соединений, своевременной смазке фильца (2-3 капли автола через 2000 км пробега) и в проверке механизма прерывателя. Контактная стойка прерывателя должна быть плотно зажата, смещение (несовпадение) осей контактов не должно превышать 0,25 мм, а рабочие кромки должны быть параллельными. При значительном несовпадении контактов следует подложить регулировочные шайбы под подвижный контакт (или над ним). Если рабочие кромки контактов непараллельны, их нужно аккуратно зачистить надфилем, после чего обязательно заправить тонким оселком. Промывку загрязненных контактов производят марлевым тампоном, смоченным в спирте или в чистом бензине.
Неисправности: 1. Обгорание контактов. Вызывается их перекосом, смещением или грубой зачисткой, а также некачественной работой конденсатора (например, из-за неплотного присоединения его клеммы).
2. Пробой конденсатора. Определяется по отсутствию искры на свече и сильному обгоранию контактов. Проверка производится путем установки нового конденсатора, при этом контакты следует аккуратно зачистить и заправить. Заметим, что небольшое искрение на контактах прерывателя — явление нормальное.
3. Неправильная регулировка абриса определяется по слабой искре.
4. Задевание ротора за статор вызвано биением цапфы коленчатого вала и устраняется заменой подшипника. Растачивать статор или протачивать ротор не рекомендуется, так как при этом ухудшается токо-образование и к тому же возможно повреждение деталей. С помощью несложного приспособления, показанного на рис. 3.8, можно выпрес-совать подшипник правой цапфы коленчатого вала, не разбирая картера.
Для этого следует небольшим зубилом или металлической отверткой разрубить сепаратор, сдвинуть шарики и в зазоры между ними вставить на равном удалении друг от друга три штыря и развернуть их. На штыри устанавливают шайбу, равномерно затягивают гайки и с помощью болта, упирающегося в торец цапфы, выпрессовывают подшипник.
5. Повреждение изоляции обмоток определяется по отсутствию искры на соответствующей клемме генератора при подсоединении ее к массе (проба на искру). Неисправность устраняется в электромеханической мастерской. Если повреждение обмотки зажигания произошло в пути, то можно добраться до гаража, поменяв местами выводы клемм освещения и зажигания (мотоцикл попытайтесь завести с хода).
Неисправности в работе электрооборудования
- Обгорание контактов – происходит по причине нарушения соединения клемм или пробоя конденсатора. Необходимо заменить конденсатор и зачистить контакты.
- Слабая искра. Устраняется заменой свечи. Если не помогает, следует причины искать глубже.
- Ротор цепляется за статор. Ликвидируется путем замены подшипника.
- Повреждение изоляции обмоток. Результатом будет отсутствие искры. Если данная проблема возникла в дороге, можно попытаться поменять клеммы местами и так добраться до гаража. Мотоцикл в таком случае придется заводить с хода.
Все названные неисправности можно предотвратить, если постоянно контролировать состояние данных элементов. Как известно, профилактика обходится дешевле, чем ремонт.
[sc:ads5]

Как выставить абрис для наилучшего зажигания
Первоначально абрис устанавливается на заводе, когда уже готовый мотоцикл находится в состоянии сборки, и крепко регулируется специальными винтами. В большинстве случаев это позволяет избежать проблем, однако иногда они разбалтываются, нарушая ход искры зажигания и уменьшая её интенсивность.
Выставить абрис в мотоцикле Минск непросто. Эта процедура отнимает много времени и сил, а также требует предельного внимания даже у самых опытных водителей. Поэтому приступать к ней необходимо только в том случае, если вы точно уверены, что проблема заключается в абрисе. Проверить это можно, измерив интенсивность искры при регулировке контактов. Её изменение свидетельствует о наличии неполадок, однако в том случае, если она остаётся стабильной — настройка не требуется.
Ослабив абрисные винты, проверьте, каким образом изменяется искра. Если с увеличением расстояния между контактами она увеличивается, то пластину следует постепенно поворачивать по часовой стрелке, и наоборот, в том случае, если она уменьшается. Действия необходимо повторять, пока вы не получите сильную искру зажигания, которая будет оставаться стабильной при изменении расстояния между контактами.
Установка зажигания мотоцикла Минск пройдёт гораздо проще при содействии опытных водителей или механиков, если вы являетесь новичком в этом деле. Впрочем, вы без проблем сможете осуществить её и самостоятельно, уделив этому максимум внимания и старания, здорово сэкономив на цене за ремонт мотоцикла в сервисе.



